通知公告
首页» 通知公告

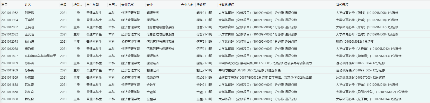
本科生课程替代信息公示

根据通知要求,现对本科生申请办理课程替代情况公示如下:

08f6e56c6de5d1f3c6c9442563eabf2.png

563b855f50ce7060a8473e48d3e507b.png

fa58e86bbdc70a9bb534f5fcd9753b1.png

f164ed8216331235a85d72587c49af5.png

a619b6ebc4f642049ca2228d28e0fff.png

公示期2024年7月1日-2024年7月5日,共5个工作日,如对课程替代信息有疑义,请联系学院教务刘老师,电话89731556。