首页»
通知公告
本科生课程替代信息公示
时间:2024-09-02 阅读次数:
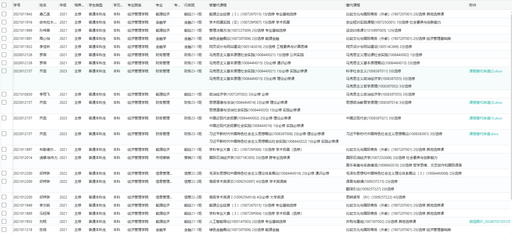
根据通知要求,现对本科生申请办理课程替代情况公示如下:
公示期2024年9月2日-2024年9月6日,共5个工作日,如对课程替代信息有疑义,请联系学院教务刘老师,电话89731556。
根据通知要求,现对本科生申请办理课程替代情况公示如下:
公示期2024年9月2日-2024年9月6日,共5个工作日,如对课程替代信息有疑义,请联系学院教务刘老师,电话89731556。